공통 인터페이스 구성
1
2
3
4
import org.springframework.data.jpa.repository.JpaRepository;
public interface ItemRepository extends JpaRepository<Item, Long> {
}

- 스프링 데이터 JPA가 구현 클래스 대신 생성
- org.springframework.data.repository.Repository를 구현한 클래스는 스캔 대상
- memberRepository.getClass() class com.sun.proxy.$ProxyXXX
- @Repository 어노테이션 생략 가능
- 컴포넌트 스캔을 스프링 데이터 JPA가 대신 처리
- JPA 예외를 스프링 예외로 변환하는 과정도 자동으로 처리
공통인터페이스 분석
1
2
3
4
5
6
// JpaRepository 공통 기능 인터페이스
public interface JpaRepository<T, ID extends Serializable>
extends PagingAndSortingRepository<T, ID>
{
...
}
1
2
3
4
5
// JpaRepository를 사용하는 인터페이스
import org.springframework.data.jpa.repository.JpaRepository;
public interface ItemRepository extends JpaRepository<Item, Long> {
}
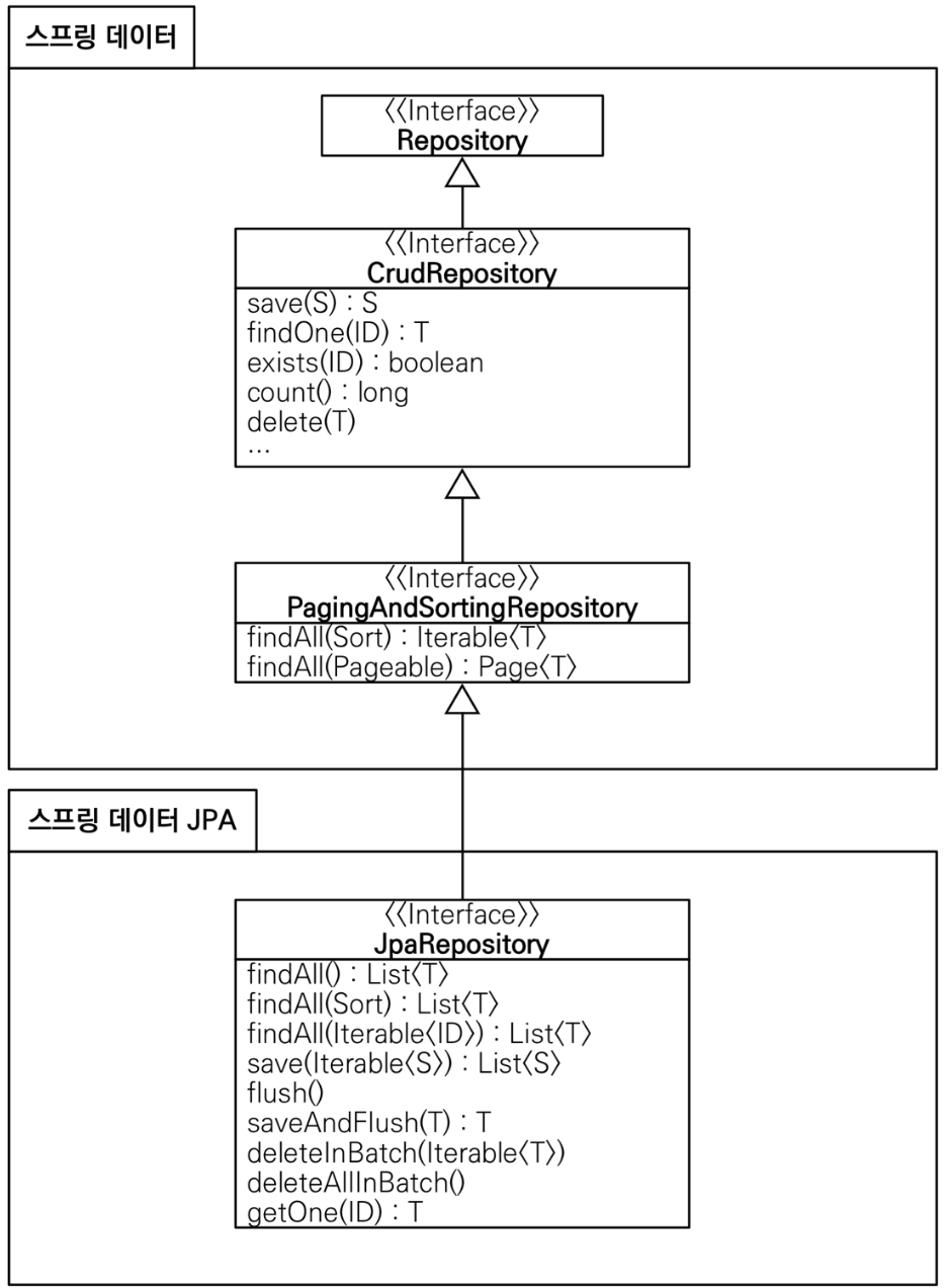
- JpaRepository 인터페이스
- 공통 CRUD 제공
- 제네릭은 <엔티티 타입, 식별자 타입> 설정

- 제네릭 타입
- T
- 엔티티
- ID
- 엔티티의 식별자 타입
- S
- 엔티티와 그 자식 타입
- T
- 주요 메소드
- save(S)
- 새로운 엔티티는 저장하고 이미 있는 엔티티는 병합
- delete(T)
- 엔티티 하나를 삭제
- 내부에서 EntityManger.remove() 호출
- findById(ID)
- 엔티티 하나를 조회
- 내부에서 EntityManger.find() 호출
- getOne(ID)
- 엔티티를 프록시로 조회
- 내부에서 EntityManger.getReference() 호출
- findAll(…)
- 모든 엔티티를 조회
- 정렬(Sort)이나 페이징(Pageable) 조건을 파라미터로 제공 가능
- save(S)
JpaRepository는 대부분의 공통 메소드를 제공 함.
참고
- 실전! 스프링 데이터 JPA(김영한)